河北冀力索具有限公司为您量身定做永磁起重器、永磁吸盘、自动永磁吸盘、永磁吊,特殊型号可支持定做,销售服务热线:18233358325

热门关键词:卷扬机图片大全   3米速差防坠器   大吨位起重吊装带   迷你永磁吸盘   220V1吨多功能提升机   双塑料外壳速差防坠器   2吨建筑快速卷扬机  

永磁起重器价格行情

您现在的位置:吊装带 > 永磁起重器资讯 > 永磁起重器价格行情 >

借鉴普通永磁吸盘缺点超强力永磁吸盘问世

通过上篇文章普通永磁吸盘的优缺点分析研制出了一种新型的超强力永磁吸盘
回忆分析:前者属于正常的磁钢之间相斥力,后者是机械磨擦力,而后者的磨擦力是前者的4巧,长期以往,起重器内主体孔同转子之间的磁钢、材料都会磨损,磨损后的铁未、磁钢未将填满主体孔与转子之间的0.8mm间隙,使手柄无法推动,由此产生的毛病也无法修复,很快会使起重器报废。
由此永磁起重器厂家研制出一种超强力永磁吸盘、它能使转子与壳体孔保持同心,不会产生由a、b两力产生的合力,以使起重器使用轻便、寿命长、在不吸重物时保持无磁状太。
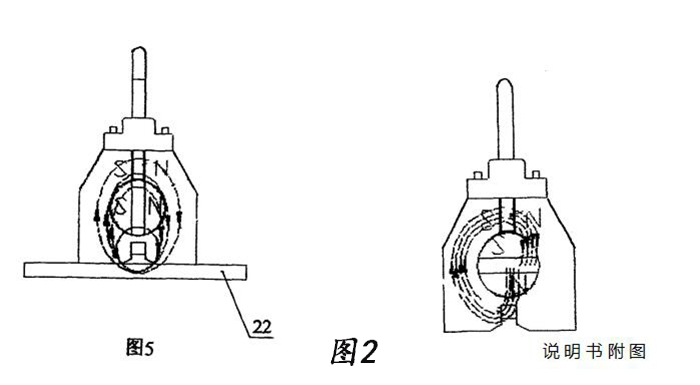
本超强力永磁吸盘采用技术方案:该超强力永磁吸盘主要由两半圆导磁体内平面夹住磁钢构成的转子、容纳所述转子在其内部转动的主体、操纵转子转动的手柄及与主体相连的吊环等构成,主体包括左、右壳体及前、后端盖,在转子上方、左右壳体之间设有一固定磁钢,转子位于主体内,其两端部通过轴承分别固定在前、后端盖上,其特征是在转子的两头分别增设有一起定位作用的定位套,定位套通过其上的中心孔套设在转子轴承上并与主体固定,这样在安装转子时,由于定位套与主体的定位固定而克服转子与主体间的斥力或引力以将转子定位好,使转子与主体孔处于同一轴心线上,不会由于相互间的斥力或引力而使转子偏心。而该定位套需用非导磁材料制成,可选用铜或不锈钢。
和普通的永磁起吊器相比:本起永磁起吊器在转子的两头增设一定位套,可以使转子与主体孔保持同心,而不会产生起吊器内主体孔与转子之间的磁钢、材料的磨损,使两者间保持一恒定间隙,因而使永磁起吊器在动态状况下保持手感灵活、吸力强劲;在非工作状态下保持无剩磁性能,使工作面光洁平整,延长使用寿命。
超强永磁吸盘产品配件介绍:
转子、主体、手柄及吊环,主体包括左、右壳体及前、后端盖,在转寸子上方、左右壳体之间设有一固定磁钢,转子位于主体内,其两端部通过轴承分别固定在前、后端盖
上,在转子的两头分别设有一由非导磁性材料做成寸的可以使转子与主体孔保持同心起定位作用的定位。
图1为本实用新型的结构示意图
图2为本实用新型处于工作状态和非工作状态时的磁路示意图。
超强力永磁吸盘
超强力永磁吸盘
超强力永磁吸盘实物图
超强力永磁吸盘实物图
 

上一篇:没有了

下一篇:为什么永磁起重器安全倍数选用3~3.5倍

相关产品